K0687 Виброопоры резинометаллические с креплением и крышкой

K0687 Виброопоры резинометаллические с креплением и крышкой

Производитель: Kipp
Модель: K0687
Наличие: Под заказ 3-6 дней
Просмотров 463

Описание товара

Материалы:

  • Металлические части из стали класса прочности 5.6.
  • Эластомер из натурального каучука со средней твердостью по Шору 60A.

Исполнение:

  • Виброопоры со внутренней резьбой.
  • Сталь оцинкованная.

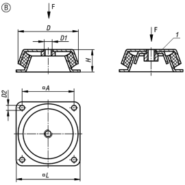
Типы виброопор (на выбор):
  • Форма A - с двумя крепежными отверстиями (на выбор): с предохранением от обрыва или без (тип EPC).
  • Форма B - с четырьмя крепежными отверстиями (на выбор): с предохранением от обрыва или без.

Указания по применению:

  • Виброопоры используются в качестве гасителей толчков для ограничения амортизационного хода движущейся массы.
  • Горизонтальная устойчивость виброопор с креплением во всех направлениях больше, чем вертикальная.

Виброопоры устанавливаются:
  • На устройства, не закрепленные на фундаменте и установленные на чувствительных напольных покрытиях (например, на оргтехнику).
  • На машинное оборудование, например, на станки, компрессоры, холодильное оборудование, и насосы (на валы).
  • Виброопоры с предохранением от обрыва предназначены для применения в случаях, когда необходимо учитывать высокую силу тяги (например, в кораблестроении).
Номер заказаФормаИсполнениеABDD1D2HLF макс., кг
K0687.062060AБез предохранения от обрыва856662M108,230110152,96
K0687.078060AБез предохранения от обрыва1107878M10930128183,55
K0687.092060AБез предохранения от обрыва1109686M1210,245140305,91
K0687.106060AБез предохранения от обрыва140110106M1212,439170367,1
K0687.062160AС предохранением от обрыва856662M108,230110152,96
K0687.078160AС предохранением от обрыва1107878M10930128183,55
K0687.092160AС предохранением от обрыва1109686M1210,245140305,91
K0687.106160AС предохранением от обрыва140110106M1212,439170367,1
Номер заказаФормаИсполнениеADD1D2HLF макс., кг
K0687.150060BБез предохранения от обрыва132150M1612,551168815,77
K0687.150160BС предохранением от обрыва132150M1612,551168815,77

Написать отзыв

Примечание: HTML разметка не поддерживается! Используйте обычный текст.
    Плохо           Хорошо